Внимание! Размещенный на сайте материал имеет информационно - познавательный характер, может быть полезен студентам и учащимся при самостоятельном выполнении работ и не является конечным информационным продуктом, предоставляемым на проверку.
Лабораторная работа "Балансировка вращающихся масс". Таблица с вариантами.
Пример выполненной работы.
Методические указания.
|
Вариант |
Неуравновешенные массы, г |
Значение эксцентриситетов, мм |
Углы дисбалансов, град |
Корректирующие массы, г |
||||||||
|
m1 |
m2 |
m3 |
r1 | r2 | r3 |
a1 |
a2 |
a3 |
mк | mk1 | mk2 | |
|
50 |
50 |
50 |
50 |
50 |
50 |
0 |
90 |
120 |
60 |
40 |
40 |
|
|
50 |
50 |
50 |
50 |
65 |
60 |
0 |
90 |
120 |
70 |
40 |
60 |
|
|
50 |
50 |
50 |
50 |
50 |
70 |
0 |
90 |
150 |
60 |
40 |
40 |
|
|
50 |
50 |
40 |
70 |
50 |
45 |
0 |
45 |
90 |
70 |
50 |
60 |
|
|
50 |
40 |
50 |
55 |
55 |
55 |
0 |
60 |
120 |
70 |
60 |
50 |
|
|
40 |
50 |
50 |
50 |
55 |
60 |
0 |
75 |
110 |
70 |
40 |
50 |
|
|
40 |
50 |
60 |
55 |
60 |
65 |
30 |
45 |
140 |
70 |
60 |
60 |
|
|
60 |
50 |
40 |
55 |
60 |
65 |
50 |
90 |
210 |
50 |
50 |
40 |
|
|
40 |
50 |
70 |
50 |
50 |
50 |
0 |
70 |
150 |
60 |
40 |
50 |
|
|
50 |
50 |
70 |
65 |
70 |
50 |
0 |
90 |
120 |
70 |
60 |
50 |
|
|
60 |
60 |
60 |
60 |
70 |
50 |
0 |
90 |
180 |
70 |
50 |
50 |
|
|
50 |
50 |
50 |
50 |
60 |
70 |
0 |
90 |
180 |
70 |
40 |
40 |
|
|
70 |
60 |
40 |
60 |
60 |
60 |
90 |
0 |
270 |
70 |
60 |
40 |
|
|
70 |
60 |
50 |
60 |
60 |
50 |
90 |
0 |
30 |
60 |
50 |
40 |
|
|
70 |
60 |
50 |
60 |
50 |
60 |
145 |
55 |
0 |
60 |
40 |
50 |
|
|
40 |
40 |
50 |
60 |
60 |
80 |
0 |
45 |
120 |
70 |
50 |
40 |
|
|
70 |
40 |
50 |
45 |
50 |
50 |
45 |
120 |
210 |
60 |
50 |
20 |
|
|
40 |
70 |
40 |
60 |
45 |
60 |
120 |
0 |
30 |
60 |
50 |
50 |
|
|
60 |
60 |
20 |
50 |
80 |
60 |
60 |
120 |
225 |
70 |
50 |
40 |
|
|
40 |
40 |
20 |
55 |
60 |
70 |
135 |
60 |
180 |
50 |
50 |
40 |
|
|
60 |
50 |
40 |
50 |
60 |
80 |
150 |
60 |
0 |
70 |
40 |
50 |
|
|
20 |
40 |
50 |
90 |
50 |
50 |
180 |
90 |
45 |
60 |
40 |
60 |
|
|
50 |
20 |
40 |
60 |
80 |
50 |
0 |
60 |
135 |
50 |
60 |
40 |
|
|
40 |
70 |
20 |
70 |
45 |
90 |
30 |
90 |
180 |
60 |
50 |
50 |
|
|
60 |
60 |
60 |
50 |
45 |
55 |
60 |
135 |
210 |
70 |
40 |
50 |
|
|
60 |
50 |
40 |
80 |
50 |
45 |
30 |
150 |
120 |
70 |
40 |
60 |
|
|
20 |
70 |
50 |
90 |
45 |
50 |
180 |
120 |
60 |
60 |
50 |
40 |
|
|
20 |
40 |
60 |
80 |
90 |
45 |
120 |
90 |
0 |
60 |
40 |
70 |
|
|
40 |
50 |
70 |
50 |
50 |
50 |
90 |
30 |
180 |
60 |
50 |
40 |
|
|
60 |
60 |
20 |
40 |
70 |
90 |
0 |
135 |
30 |
70 |
40 |
50 |
|
Автор страницы: admin
ЛАБОРАТОРНАЯ РАБОТА «БАЛАНСИРОВКА ВРАЩАЮЩИХСЯ МАСС»
Цель работы:
Ознакомление с видами неуравновешенности вращающихся звеньев и экспериментальное уравновешивание ротора на лабораторной установке.
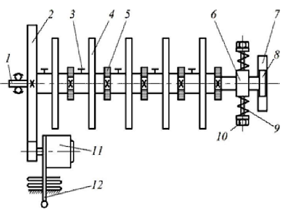
Устройство и работа лабораторной установки
Установка ТММ-35М (рис. 1) настольного типа предназначена для статического и динамического уравновешивания вращающихся масс с заданным расположением и состоит из следующих основных узлов: ротора с дисками, электродвигателя с фрикционным приводом и плиты со стойками.
Ротор представляет собой вал 1, на котором свободно посажены пять алюминиевых дисков 4 на расстоянии 80 мм друг от друга. На крайних дисках располагаются противовесы. Три средних диска служат для установки неуравновешенных грузов. В осевом направлении перемещение дисков ограничивается кольцами 5, жестко закрепленными на валу. Кольца градуированы по образующей через один градус, а ступицы дисков имеют риску, позволяющую установить диск на необходимый угол. Фиксация дисков осуществляется винтами 3.
Диски имеют два сквозных паза: один - для крепления груза (точечной массы), другой - для противовеса. Пазы расположены под углом 180°. Рядом с пазом на диске прикреплена шкала, позволяющая устанавливать груз и противовес на требуемом расстоянии от оси вращения вала ротора.
Ротор смонтирован на двух стойках: левый конец вала закреплен в сферическом шарикоподшипнике, который позволяет валу, кроме вращательного движения, осуществлять поворот в горизонтальной плоскости; правый конец вала установлен па радиальном шарикоподшипнике, вмонтированном в каретке 6. Каретка может перемещаться на роликах 8 по направляющей 7 в горизонтальной плоскости и удерживается в центральном положении при помощи пружин растяжения 9, регулируемых винтами 10.
Вращение ротора осуществляется от электродвигателя 11 посредством фрикционной передачи.
Электродвигатель смонтирован у левой стойки на качающемся рычаге 12. Под рычагом установлена пусковая кнопка двойного действия. Нажатием рукоятки рычага «вниз» фрикционный диск прижимается к шкиву 2 ротора, и одновременно включается электродвигатель, разгоняющий ротор. При освобождении рукоятки фрикционный диск под действием силы веса электродвигателя отжимается от шкива 2 и электродвигатель выключается. Для ограничения хода фрикционного диска предусмотрены регулировочные винты. Электродвигатель рассчитан на напряжение тока 220 В, скорость вращения - 6000 об/мин. Полезная мощность на валу - 40 Вт.
Основанием установки служит чугунная плита, на которой закреплены стойки, несущие ротор. На плите помещается переключатель для включения («вкл») и выключения («выкл») электрического питания установки.
Установка снабжена комплектом грузов постоянной массы в 20, 30, 40, 50, 60 и 70 г, служащих для создания дисбаланса и для уравновешивания.
Постановка задачи.
В данной лабораторной работе требуется выполнить статическую и динамическую балансировку ротора.
Неуравновешенность ротора достигается размещением в пазах дисков 1, 2 и 3 точечных масс m1, m2, m3 на расстояниях от оси вращения с углами дисбалансов
соответственно (рис. 2).
Так как между соседними дисками расстояние 80 мм, то мм,
мм,
мм,
мм.
Статическая балансировка производится с помощью одной корректирующей массы , установленной в пазах любого из дисков в плоскостях коррекции ПК1 или ПК2.
Динамическая балансировка производится с помощью двух корректирующих масс и
, установленных в пазах дисковв плоскостях коррекции ПК1 или ПК2, соответственно.
2. Вычерчиваем с учетом масштаба схему расположения неуравновешенных масс. Зададимся масштабным коэффициентом мм/мм.
3. В нашем случае ротор неуравновешен статически. Под децствием сил тяжести предоставленый самому себе статически неуравновешенный ротор будет поворачиваться, стремясь к устойчивому положению, при этом его центр масс займет крайнее нижнее положение.
Для статического (частичного) уравновешивания подсчитаем значения дисбалансов неуравновешенных масс и запишем в бланк отчета.
В этом случае при установке корректирующей массы должна наблюдаться статическая уравновешенность ротора. При повороте вала вручную на любой угол ротор должен находиться в безразличном равновесии, т.е. не поворачиваться вокруг своей оси.



