Внимание! Размещенный на сайте материал имеет информационно - познавательный характер, может быть полезен студентам и учащимся при самостоятельном выполнении работ и не является конечным информационным продуктом, предоставляемым на проверку.
Артикул: тмм2-17
Автор решения: admin
ЛАБОРАТОРНАЯ РАБОТА «БАЛАНСИРОВКА ВРАЩАЮЩИХСЯ МАСС» Цель работы Ознакомление с видами неуравновешенности вращающихся звеньев и экспериментальное…
ЛАБОРАТОРНАЯ РАБОТА «БАЛАНСИРОВКА ВРАЩАЮЩИХСЯ МАСС»
Цель работы
Ознакомление с видами неуравновешенности вращающихся звеньев и экспериментальное уравновешивание ротора на лабораторной установке.
В процессе выполнения работы решаются следующие задачи:
1. Производится расчет противовесов и их координат для уравновешивания ротора с известным расположением неуравновешенных масс.
2. На установке ТММ-35М проверяются статическая (частичная) и динамическая (полная) уравновешенность ротора.
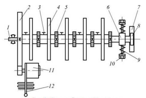
Устройство и работа лабораторной установки
Установка ТММ-35М настольного типа предназначена для статического и динамического
уравновешивания вращающихся масс с заданным
расположением и состоит из следующих основных узлов: ротора с дисками, электродвигателя с фрикционным приводом и плиты со стойками.

Ротор представляет собой вал 1, на котором располагаются пять алюминиевых дисков 4 на расстоянии 80 мм друг от друга. Крайние диски предназначены для установки корректирующих масс.
В качестве корректирующих и точечных неуравновешенных масс и используется комплект грузов в 20, 40, 50, 60 и 70 граммов.
Постановка задачи.
В данной работе требуется выполнить статическую и динамическую балансировку ротора.
Выполнен вариант - 17
Общий объем выполненой работы - 10 листов
Формат документа - pdf
<в каталог | Методические указания | Пример выполненной работы
Фрагмент решения ↓↓↓
Цена: 850.00р.




